【试题要求】
1.任务要求
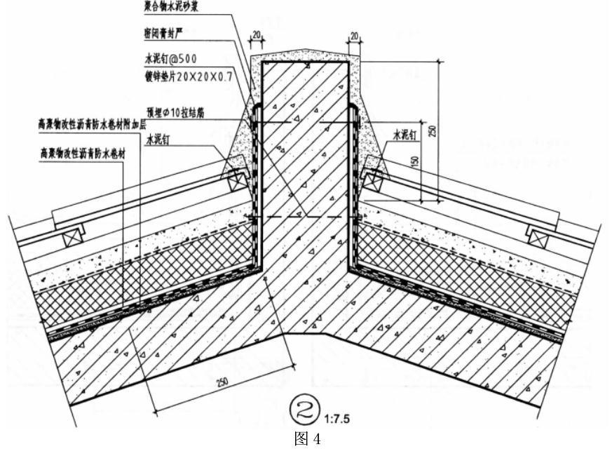
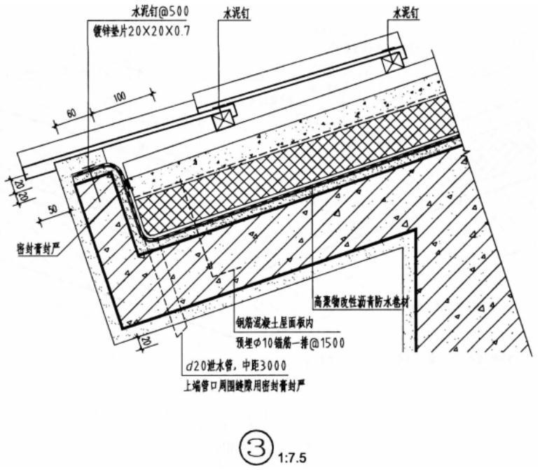
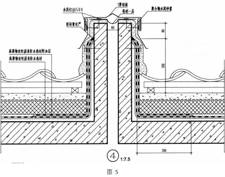
图1为建于非地震、非大风地区小住宅的坡屋顶平面图,按要求使用下面提供的基本构件和材料,画出指定的①~④节点详图(图2、图3上作答),其构造应符合坡屋顶的要求,并注明材料和构件名称。


2.任务说明
(1)本图节点构造以国标00SJ202
(一)图集为依据。
(2)屋面结构层为100mm厚现浇钢筋混凝土板。
(3)屋面坡度为1:3,采用自由落水,出檐500mm,山墙高500mm,伸缩缝宽60mm。
3.屋面构件
(1)机制S形瓦314mm×314mm。
(2)木挂瓦条30mm×25mm(h)。
(3)顺水条30mm×25mm(h),中距600mm。
(4)35mm厚C15细石混凝土找平层(配φ6@500mm×500mm钢筋网)。
(5)保温隔热层60mm厚。
(6)高聚物改性沥青防水卷材2mm厚。
(7)找平层1:3水泥砂浆20mm厚。
(8)现浇钢筋混凝土板100mm厚。
4.图例

详见图 4、图 5。



