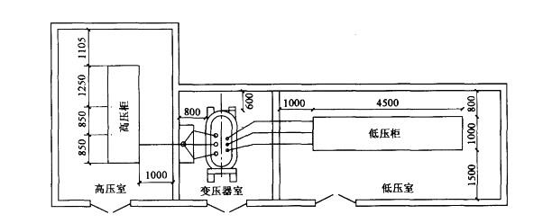
<p>找出下面的10kV变电所平面布置图(尺寸单位:mm)中,有几处不符合规范的要求?并请逐条说明正确的做法是什么。图中油浸变压

分类: 电气工程师供配电专业 发布时间: 2023-11-03 00:24 浏览量: 5

找出下面的10kV变电所平面布置图(尺寸单位:mm)中,有几处不符合规范的要求?并请逐条说明正确的做法是什么。图中油浸变压器容量为1250kV.A,低压柜为固定式配电屏(注:图中未标注的尺寸不用校验)。()

A.—处

B.两处

C.三处

D.四处

正确答案是C