<p>某钢梁采用端板连接接头,钢材为Q345钢采甩10.9级高强度螺栓摩擦型连接,连接处钢材接触表面的处理方法为未经处理的干净乳

分类: (结构) 专业考试一级 发布时间: 2023-11-03 00:56 浏览量: 1

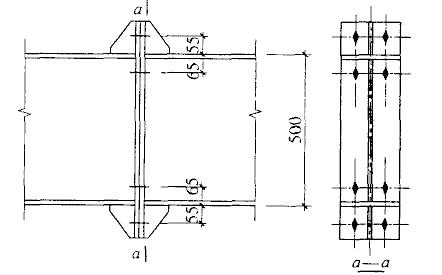
某钢梁采用端板连接接头,钢材为Q345钢采甩10.9级高强度螺栓摩擦型连接,连接处钢材接触表面的处理方法为未经处理的干净乳制表面,其连接形式如下图所示,考虑了各种不利影响后,取弯矩设计值M=260kN.m,剪力设计值V=65kN,轴力设计值N=100kN(压力)。 提示:设计值均为非地震作用组合内力。 试问,连接可采用的高强度螺栓最小规格为下列何项?提示:①梁上、下翼缘板中心间的距离取490mm;②忽略轴力和剪力影响。

A.M20

B.M22

C.M24

D.M27

正确答案是B