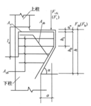
<p>支承屋面梁的柱牛腿,如图所示,宽度b=400mm,屋架在牛腿上的支承长度为200mm,竖向力作用点到下柱边缘的水平距离a=

分类: (结构) 专业考试二级 发布时间: 2023-11-03 00:57 浏览量: 1

支承屋面梁的柱牛腿,如图所示,宽度b=400mm,屋架在牛腿上的支承长度为200mm,竖向力作用点到下柱边缘的水平距离a=300mm(已考虑安装偏差20mm),外边缘高h1=h/3(九为牛腿高度),牛腿底面倾斜角α=45°。作用在牛腿顶部按荷载效应标准组合计算的竖向力Fvk=450kN,竖向力的设计值Fv=580kN,同时作用在牛腿顶部按荷载效应标准组合计算的水平拉力Fhk=120kN,水平拉力的设计值Fh=168kN,混凝土强度等级采用C30,钢筋HRB335级,as=40mm,箍筋为HPB235级钢筋。 若截面的有效高度h0=810mm,则纵向受拉钢筋的截面面积As最接近于()mm2。

A.1280

B.1310

C.1400

D.1520

正确答案是D