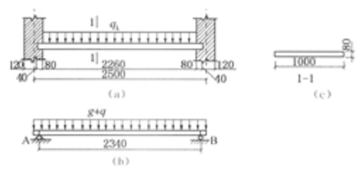
<p>某宿舍的内廓为现浇简支在砖墙上的钢筋混凝土平板(图),板厚h=80mm,as=20mm,板上作用的均布活荷载标准值为qk=

分类: (结构) 专业考试二级 发布时间: 2023-11-03 00:57 浏览量: 3

某宿舍的内廓为现浇简支在砖墙上的钢筋混凝土平板(图),板厚h=80mm,as=20mm,板上作用的均布活荷载标准值为qk=2kN/m2。水磨石地面及细石混凝土垫层共30mm厚(重度为22kN/m3),板底粉刷白灰砂浆12mm厚(重度为17kN/m3)。 恒载与活载设计值分别为()。

A.3.613kN/m;2.80kN/m

B.3.437kN/m;2.80kN/m

C.3.056kN/m;2.46kN/m

D.2.864kN/m;2.00kN/m

正确答案是B