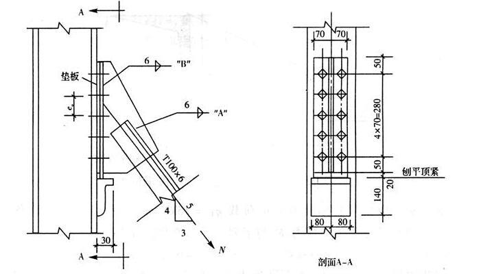
<p>如图所示连接节点,斜杆承受轴心拉力设计值N=400kN,钢材采用Q235-BF(3号钢)焊接时,采用E43型手工焊条。高强

分类: (结构) 专业考试二级 发布时间: 2023-11-03 00:57 浏览量: 0

如图所示连接节点,斜杆承受轴心拉力设计值N=400kN,钢材采用Q235-BF(3号钢)焊接时,采用E43型手工焊条。高强螺栓连接时,采用摩擦型高强度螺栓M20,材质为20MnTi B,等级为10.9级,接触面喷砂处理。普通螺栓受拉连接时,采用M20普通螺栓,Q235钢(3号钢)制作,4.6级。 角焊缝“A”的长度是?(  )

A.150mm

B.160mm

C.220mm

D.310mm

正确答案是C