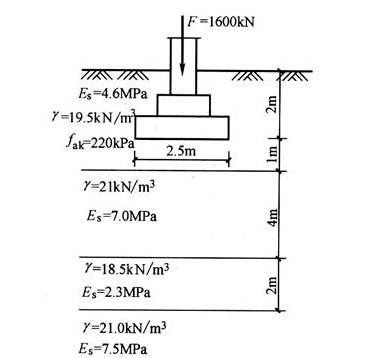
<p>某柱下独立基础的底面尺寸为2.5m×2.5m,基础埋深2.0m,上部结构传至基础顶面的荷载准永久组合为F=1600kN。地

分类: (结构) 专业考试二级 发布时间: 2023-11-03 00:57 浏览量: 0

某柱下独立基础的底面尺寸为2.5m×2.5m,基础埋深2.0m,上部结构传至基础顶面的荷载准永久组合为F=1600kN。地基土层分布如图16所示。

A.5、0

B.5、3

C.5、9

D.7、6

正确答案是D