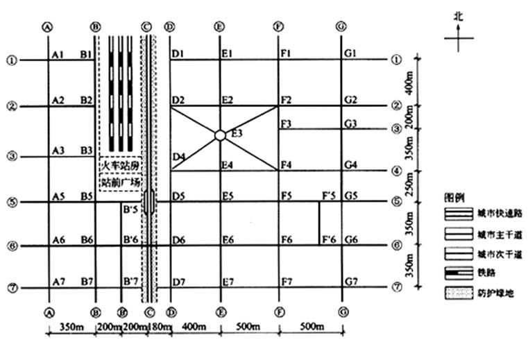
如图3为某城市火车站地区局部的道路路网布局方案示意图,C—C为城市快速路,与主干道⑤—⑤交叉处已建有互通式立交,与火车站相通的南北轴线B'5—B'7为生活性干道。其他道路为城市主次干道。
图3 某城市火车站地区局部的道路路网布局方案示意
【问题】
请你分析该方案存在的主要问题,并提出改进意见。
该方案存在的主要问题及改进意见如下: (1)城市主次干道不合理,部分路网间距不符合规范要求。 (2)E3 点多路交叉,D2、D4、F2、F4 交角不符合规范要求。 (3)A—A 应该为主干道,B—B 降为次干道。 (4)F'5—F'6 改为次干道,G5—G6 改为次干道。 (5)道路⑥—⑥应降为次干道,道路⑦—⑦应提升为主干道。