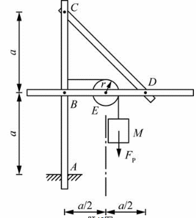
<p>B、 C、 D、E处均为光滑铰链连接,各杆和滑轮的重量略去不计。已知a、r及Fp,则固定端A的约束力矩为(  )。

分类: 注册环保工程师 - 公共基础 发布时间: 2023-11-03 01:08 浏览量: 4

B、 C、 D、E处均为光滑铰链连接,各杆和滑轮的重量略去不计。已知a、r及Fp,则固定端A的约束力矩为(  )。

A.MA=Fp(a/2+r)(顺时针)

B.MA=Fp(a/2+r)(逆时针)

C.MA=Fp·r←(逆时针)

D.MA=Fp·r→(顺时针)

正确答案是B