<p>图示轮系,辊筒5与蜗轮4相固连,各轮齿数:z1=20,z2=40,z3=60,蜗杆3的头数为2,当手柄H以图示方向旋转1周

分类: 专业基础知识(暖通空调+动力) 发布时间: 2023-11-03 01:19 浏览量: 0

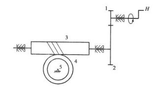
图示轮系,辊筒5与蜗轮4相固连,各轮齿数:z1=20,z2=40,z3=60,蜗杆3的头数为2,当手柄H以图示方向旋转1周时,则辊筒的转向及转数为(  )。

A.顺时针,1/30周

B.逆时针,1/30周

C.顺时针,1/60周

D.逆时针,1/60周

正确答案是C