<p>阅读以下关于基于微服务的系统开发的叙述,在答题纸上回答问题1至问题3。 【说明】 某公司拟开发一个网络约车调度

分类: (高级)系统分析师 发布时间: 2023-11-03 05:24 浏览量: 0

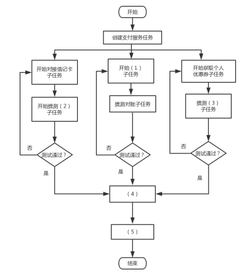
阅读以下关于基于微服务的系统开发的叙述,在答题纸上回答问题1至问题3。 【说明】 某公司拟开发一个网络约车调度服务平台,实现基于互联网的出租车预约与管理。公司的系统分析师王工首先进行了需求分析,得到的系统需求列举如下: 系统的参与者包括乘客、出租车司机和平台管理员三类; 系统能够实现对乘客和出租车司机的信息注册与身份认证等功能,并对乘客的信用信息进行管理,对出租车司机的违章情况进行审核; 系统需要与后端的银行支付系统对接,完成支付信息审核、支付信息更新与在线支付等功能; 针对乘客发起的每一笔订单,系统需要实现订单发起、提交、跟踪、撤销、支付、完成等业务过程的处理: 系统需要以短信、微信和电子邮件多种方式分别为系统中的用户进行事件提醒。 在系统分析与设计阶段,公司经过内部讨论,一致认为该系统的需求定义明确,建议尝试采用新的微服务架构进行开发,并任命王工为项目技术负责人,负责项目开发过程中的技术指导工作。 【问题1】(12分) 请用100字以内的文字说明一个微服务中应该包含的内容,并用300字以内的文字解释基于微服务的系统与传统的单体式系统相比的2个优势和带来的2个挑战。 【问题2】(8分) 识别并设计微服务是系统开发过程中的一个重要步骤,请对题干需求进行分析,对微服务的种类和包含的业务功能进行归类,完成表1-1中的(1)~(4)。 【问题3】(5分) 为了提高系统开发效率,公司的系统分析师王工设计了一个基于微服务的软件交付流程,其核心思想是将业务功能定义为任务,将完成某个业务功能时涉及到的步骤和过程定义为子任务,只有当所有的子任务都测试通过后改业务功能才能上线交付。请基于王工设计的在线支付微服务交付流程,从(a)~(f)中分别选出合适的内容填入图1-1中的(1)~(5)处。 选项:(a)提交测试(b)全量上线(c)对接借记卡 (d)获取个人优惠券(e)试部署(f)对账

【问题 1】(12 分) 答案: 微服务中应该包含的内容有:资源、对资源的操作的一组 API 集合。 微服务的优势: (1)通过分解巨大单体式应用为多个服务方法解决了复杂性问题。它把庞大的单一模块应用分解为一系列的服务,同时保持总体功能不变。 (2)让每个服务能够独立开发,开发者能够自由选择可行的技术,提供 API 服务。 (3)微服务架构模式是每个微服务独立的部署。开发者不再需要协调其它服务部署对本服务的影响。这种改变可以加快部署速度。 (4)微服务使得每个服务独立扩展。你可以根据每个服务的规模来部署满足需求的规模。甚至你可以使用更适合于服务资源需求的硬件。微服务架构带来的挑战: (1)并非所有的系统都能转成微服务。例如一些数据库层的底层操作是不推荐服务化的。 (2)部署较以往架构更加复杂:系统由众多微服务搭建,每个微服务需要单独部署,从而增加部署的复杂度,容器技术能够解决这一问题。 (3)性能问题:由于微服务注重独立性,互相通信时只能通过标准接口,可能产生延迟或调用出错。例如一个服务需要访问另一个服务的数据,只能通过服务间接口来进行数据传输,如果是频繁访问,则可能带来较大的延迟。 (4)数据一致性问题:作为分布式部署的微服务,在保持数据一致性方面需要比传统架构更加困难。 【问题 2】 (8 分) 答案: (1)乘客信息注册、乘客身份认证、乘客信用信息管理 (2)出租车司机信息注册、出租车司机身份认证、司机违章情况审核 (3)支付管理 (4)订单发起、订单提交、订单跟踪、订单撤销 【问题 3】(5 分) 答案: (1)f (2)c (3)d (4)a (5)b