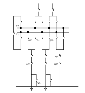
假设下图接线以W1母线工作,W2母线备用方式运行,出线断路器QF1(设其接于母线W1,即隔离母线QS3闭合,而QS4断开)需要检修,而其所在回路不中断供电,这时的倒闸操作顺序为()

A.①合QS6,QS5②合QS1③断开 QF1④断开 QS2 和QS3⑤合QF
B.①合QS6,QS5②合QF③断开 QF1④断开 QS2 和QS3⑤合QS1
C.①合QS6,QS5②合QS1③合QF④断开 QF1⑤断开 QS2 和QS3
D.①合QS6,QS5②合QS1③断开 QF1④合QF⑤断开 QS2 和QS3
正确答案是B