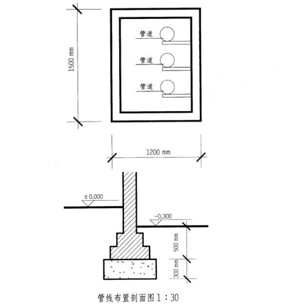
<p>设计任务 某建筑场地中,需在建筑物旁安排综合管道沟。要求埋深为900mm,已知场地土的内摩擦角α为30°,其tanα=0

分类: 场地设计(作图题) 发布时间: 2023-11-03 00:00 浏览量: 1

设计任务 某建筑场地中,需在建筑物旁安排综合管道沟。要求埋深为900mm,已知场地土的内摩擦角α为30°,其tanα=0.577。要求在剖面中布置管道沟。管道沟内设有热水管、煤气管、给水管、污水管中的三种。

解题要点 掌握内摩擦角概念。 满足管道线在管道沟中的布置要求。 作图提示 1.按内摩擦角计算得出基础边。与管沟边的距离为2.773。实践中满足1:2放坡要求即可。 2.考虑煤气工程的特殊性及与其他管线工程比较,应将煤气管道排除掉。 3.热力、给水、污水管道自上而下为正常排序。